欢迎光临密封产业网
我的会员中心
供应

进口信号反溃电磁阀

  • 二维码
  • 手机
    查看
最后更新时间:2019-11-04
人气值 734
品牌:
美国瑞茨RETZ
 
 
 
售后服务:由上海瓦诺阀门厂从上海闵行区发货,并提供售后服务

  • RETZ带信号反溃功能电磁阀是一种能反映电磁阀是处于开或关状态的阀门,*适合用于需检测介质是否流动的自动化管道系统,本产品广泛应用在石油化工、工业炉窑、锅炉、给排水、采暖空调、消防设备、干燥设备、食品设备、医疗设备、清洗设备、景观喷灌、石化、电力、化学、轻工、机械等自动化控制
    进口信号反溃电磁阀控制方式--
    常闭:
    1.当线圈通电时,电磁铁芯吸合,卸压孔打开,主活塞由介质压力推动,打开主阀口,介质流通。
    2.当线圈断电时,主阀口关闭,介质截止。
    常开:
    3.当线圈通电时,电磁铁芯吸合,卸压孔关闭,主活塞由介质压力推动,关闭主阀口,介质截止。
    4.当线圈断电时,主阀口打开,介质流通。
    进口信号反溃电磁阀特点--
    动作响应迅速
    塑封线圈,提高阀的可靠性并能防水、防潮;
    独特设计、性能稳定、活塞结构、密封性好;
    结构简单、流量大,严防泄露,安全可靠等特点;
    专制线圈,不易烧毁,*适应在爆炸危险场所使用;
    备注--
    1.流体中若含有杂质,电磁阀进端必须安装过滤阀(精度40—200目),
    2.无粘稠,无凝固及结晶现象。
    进口信号反溃电磁阀参数--
    工作环境温度:-30—+80℃;-50—+100℃
    线圈工作温度:<+50℃、<+85℃
    标准电压:AC(380、220、110、24)V、DC(220、110、24、12)V
    流体介质:水、气、油等
    流体温度:<-20℃、<-40℃、<+60℃、<+120℃、<+200℃
    流通流体压力:6bar、16bar、25bar、40bar、63bar、100bar、200bar、300bar
    阀体材质:不锈钢(304、316、316L)、铸钢
    连接方式:螺纹、法兰
    泄漏量:零泄漏

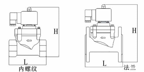
    进口信号反溃电磁阀外形尺寸--

    规格

    型号

    公称

    通径

    螺纹连接外形尺寸

    法兰连接外形尺寸



    G螺纹

    L长度

    H常规高度

    H防爆阀高度

    F法兰

    L长度

    H常规高度

    H防爆阀高度

    DN1

    1

    G1/8

    39

    81

    95





    DN2

    2

    G1/4

    39

    81

    95





    DN3

    3

    G1/4

    39

    81

    95





    DN4

    4

    G1/4

    39

    81

    95





    DN5

    5

    G1/4

    43

    101

    115





    DN6

    6

    G1/4

    43

    101

    115





    DN7

    7

    G1/4

    43

    101

    115





    DN8

    8

    G1/4

    43

    101

    115





    DN10

    10

    G3/8

    72

    138

    149





    DN15

    15

    G1/2

    72

    138

    149

    F1/2

    98

    165

    178

    DN20

    20

    G3/4

    85

    148

    186

    F3/4

    110

    176

    205

    DN25

    25

    G1

    97

    162

    186

    F1

    118

    202

    217

    DN32

    32

    G1-1/4

    117

    173

    196

    F1-1/4

    145

    223

    238

    DN40

    40

    G1-1/2

    128

    189

    207

    F1-1/2

    155

    232

    253

    DN50

    50

    G2

    149

    206

    222

    F2

    173

    253

    265

    DN65

    65





    F2-1/2

    216

    298

    323

    DN80

    80





    F3

    228

    322

    347

    DN100

    100





    F4

    278

    358

    383

    DN125

    125





    F5

    400

    450

    475

    DN150

    150





    F6

    485

    560

    585

    DN200

    200





    F8

    600

    620

    645

    DN250

    250





    F10

    650

    630

    655

    DN300

    300





    F12

    750

    690

    705

  • 关于我们--
    我们是一家专业代理国外品牌阀门流体控制的企业,多年来,公司一直以质量与生命同步为口号,以创新、服务为目标,以专业、诚信与合理的价位、品质的保证满足广大用户
    RETZ
    介绍--
    RETZ
    瑞茨公司总部位于美国犹他州盐湖市我们一直致力于管道流体的控制, RETZ秉承一贯严谨、精湛的工艺产品一直具有优秀的品质、高度的灵活性、安全性与可靠性。我们将不断追求,不断发展新技术,提供新产品, RETZ公司的产品可以满足工控系统的截断、安全、控制、疏水、止回、减压及电动和气动系列自动化控制。
    RETZ
    使用场所--
    广泛使用在冷却冷冻管道、蒸汽管道、导热油循环系统、锅炉用阀、水力给排水管道、LPG用管道、调整机用阀、压缩机阀门、空调冷却/加热管道、暖通供热系统石油化工设备、天然气管道控制、造纸工业、化肥厂、市政环保、电力设备、楼宇系统、制药以及食品乳品饮料等卫生级管道的控制产品具有广泛的选择性,涵盖各种电动阀、气动阀、调节阀、电磁阀、球阀、蝶阀、闸阀、止回阀、截止阀、平衡阀、疏水阀、隔膜阀、给排水控制阀门等近万种产品规格
    RETZ
    开发、设计工序--
    利用电脑进行信息储存、处理。设计时根据多方面的要求,考虑其安全性、耐久性、通用性及持久性的特点,设计具有适应市场需求的多功能产品。
    RETZ
    铸造、锻造工程--
    阀体的铸造、锻造技术是决定阀门质量的关键。因此,RETZ在进行严格的选材后,应用长年积累的精湛技术,生产出值得高度信赖的铸造,铸造素材。
    RETZ
    试验、检查工程--
    RETZ
    对品质检查方面要求十分严格,采用多种不同方法包括:化学成分分析、非破坏性检查、机械强度测试及流量特性试验等。在*后品质检定过程中,公司会抽取多个样本,安装在要求极高及极度恶劣的工作环境下使用,例如超高温的工作环境或者是使用超高温的液体等。保证阀门的高品质是RETZ公司向客户的承诺。
    RETZ
    的价值观--
    诚信立足--  
    诚信是我们的立身之本,以真诚之心,行信义之事,诚信于客户,诚信于供应商,诚信于合作伙伴,诚信于社会。
    专注专业--     
    专注于流体控制领域,专业于阀门产品与服务;专注于客户的需求和想法,专业于一体化解决方案
    追求卓越--  
    卓越不是一个标准,而是一种境界。我们将不断完善自我,追求行业高峰水平
普通会员 
    • 联 系  人: 陈杰
    • 在线客服:
    • 手机号码:
    • 联系电话:
    • 传      真:
    • 企业地址: 闵行区高兴路37号
我要询价
最新询价
客服中心
服务热线:
业务咨询:
业务咨询:
在线客服:
    网站客服:
手机版
(c)淄博途讯网络 版权所有

鲁公网安备 37030402001057号

   鲁ICP备17031163号-9